| Note: Provider Backbone Bridging (PBB) is only supported on 7210 SAS-M and 7210 SAS-T operating in the network mode. |
This chapter provides information about PBB, process overview, and implementation notes.
IEEE 802.1ah draft standard (IEEE802.1ah), also known as Provider Backbone Bridges (PBB), defines an architecture and bridge protocols for interconnection of multiple Provider Bridge Networks (PBNs - IEEE802.1ad QinQ networks). PBB is defined in IEEE as a connectionless technology based on multipoint VLAN tunnels. IEEE 802.1ah employs Provider MSTP as the core control plane for loop avoidance and load balancing. As a result, the coverage of the solution is limited by STP scale in the core of large service provider networks. The 7210 SAS-M and 7210 SAS-T in network mode supports a native PBB Ethernet backbone deployment.
The IEEE model for PBB is organized around a B-component handling the provider backbone layer and an I-component concerned with the mapping of Customer or Provider Bridge (QinQ) domain (for example, MACs, VLANs) to the provider backbone (for example, B-MACs, B-VLANs), that is, the I-component contains the boundary between the Customer and Backbone MAC domains. PBB encapsulates customer payload in a provider backbone Ethernet header, providing for Customer MAC hiding capabilities. With PBB, 7210 SAS platforms can be used for tier-1/2 aggregation, encapsulating customer service frames in PBB, allowing the PE-rs devices deployed in the metro core to be aware of only provider MAC addresses and for metro service scaling.
7210 SAS platforms fully support only native PBB deployment. They do not support the integrated PBB VPLS model. In particular, 7210 SAS platforms do not support use of SDPs in PBB services.
H-VPLS introduced a service-aware device in a central core location to provide efficient replication and controlled interaction at domain boundaries. The core network facing provider edge (N-PE) devices have knowledge of all VPLS services and customer MAC addresses for local and related remote regions resulting in potential scalability issues as shown in Figure 79.

In a large VPLS deployment, it is important to improve the stability of the overall solution and to speed up service delivery. These goals are achieved by reducing the load on the N-PEs and respectively minimizing the number of provisioning touches on the N-PEs.
The integrated PBB-VPLS model provides an additional PBB hierarchy in the VPLS network to address these goals, as shown in Figure 80.

PBB encapsulation is added at the user facing PE (U-PE) to hide the customer MAC addressing and topology from the N-PE devices. The core N-PEs need to only handle backbone MAC addressing and do not need to have visibility of each customer VPN. As a result, the integrated PBB-VPLS solution decreases the load in the N-PEs and improves the overall stability of the backbone.
In Figure 80, 7210 devices can only be used as U-PEs supporting only native Ethernet PBB services.
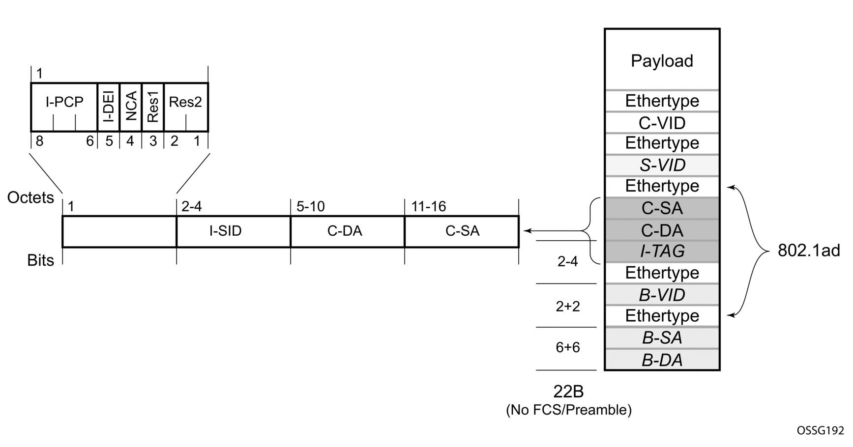
IEEE 802.1ah specification encapsulates the customer or QinQ payload in a provider header as shown in Figure 81.

PBB adds a regular Ethernet header where the B-DA and B-SA are the backbone destination and respectively, source MACs of the edge U-PEs. The backbone MACs (B-MACs) are used by the core N-PE devices to switch the frame through the backbone.
A special group MAC is used for the backbone destination MAC (B-DA) when handling an unknown unicast, multicast or broadcast frame. This backbone group MAC is derived from the I-service instance identifier (ISID) using the rule: a standard group OUI (01-1E-83) followed by the 24 bit ISID coded in the last three bytes of the MAC address.
The BVID (backbone VLAN ID) field is a regular DOT1Q tag and controls the size of the backbone broadcast domain.
The following ITAG (standard Ether-type value of 0x88E7) has the role of identifying the customer VPN to which the frame is addressed through the 24 bit ISID.
The IEEE model for PBB is organized around a B-component handling the provider backbone layer and an I-component concerned with the mapping of the customer/provider bridge (QinQ) domain (MACs, VLANs) to the provider backbone (B-MACs, B-VLANs). For example, the I-component contains the boundary between the customer and backbone MAC domains.
The Nokia implementation is extending the IEEE model for PBB to allow support for MPLS pseudowires using a chain of two VPLS context linked together as shown in Figure 82.
7210 SAS does not support MPLS pseudowires in a PBB B-component and PBB I-component.

| Note: I-PW and B-PW are not supported on 7210 SAS platforms. |
A VPLS context is used to provide the backbone switching component. The white circle marked B, referred to as backbone-VPLS (B-VPLS) operates on backbone MAC addresses providing a core multipoint infrastructure that may be used for one or multiple customer VPNs. The Nokia B-VPLS implementation allows the use of native PBB infrastructures.
| Note: 7210 SAS implementation allows the use of only native PBB over Ethernet infrastructures. |
Another VPLS context (I-VPLS) can be used to provide the multipoint I-component functionality emulating the ELAN service (refer to the triangle marked “I” in Figure 82). Similar to B-VPLS, I-VPLS inherits from the regular VPLS and native Ethernet (SAPs) hand-offs accommodating this way different types of access: for example, direct customer link, QinQ or H-VPLS.
To support PBB ELINE (point-to-point service), the use of an Epipe as I-component is allowed. All Ethernet SAPs supported by a regular Epipe are also supported in the PBB Epipe.
This section contains information about the following topics:
Existing SAP processing rules still apply for the I-VPLS case; the SAP encapsulation definition on Ethernet ingress ports defines which VLAN tags are used to determine the service that the packet belongs to:
This section describes the walk-through for a packet that traverses the B-VPLS and I-VPLS instances using the example of a unicast frame between two customer stations as shown in the following network diagram Figure 83.

The station with CMAC (customer MAC) X needs to send a unicast frame to CMAC Y through the PBB-VPLS network. A customer frame arriving at PBB-VPLS U-PE1 is encapsulated with the PBB header. The local I-VPLS FIB on U-PE1 is consulted to determine the destination BMAC of the egress U-PE for CMAC Y. In our example, B2 is assumed to be known as the B-DA for Y. If CMAC Y is not present in the U-PE1 forwarding database, the PBB packet is sent in the B-VPLS using the standard group MAC address for the ISID associated with the customer VPN.
Next, only the Backbone Header in green is used to switch the frame through the green B-VPLS/VPLS instances in the N-PEs. At the receiving U-PE2, the CMAC X is learned as being behind BMAC B1; then the PBB encapsulation is removed and the lookup for CMAC Y is performed.
ELINE service is defined in PBB (IEEE 802.1ah) as a point-to-point service over the B-component infrastructure. The Nokia implementation provides support for PBB ELINE through the mapping of multiple Epipe services to a Backbone VPLS infrastructure.
The use of Epipe scales the ELINE services as no MAC switching, learning or replication is required to deliver the point-to-point service.
All packets ingressing the customer SAP are PBB encapsulated and unicasted through the B-VPLS “tunnel” using the backbone destination MAC of the remote PBB PE.
All the packets ingressing the B-VPLS destined for the Epipe are PBB de-encapsulated and forwarded to the customer SAP.
The PBB Epipe service can be protected using G.8032 (the G8032 instance is created to protect the PBB B-VPLS service). For more information and for an example see Overview of G.8032 Operation.
The following VPLS resiliency mechanisms are also supported in PBB VPLS:
The Nokia PBB implementation allows the operator to use a native Ethernet infrastructure as the PBB core. Native Ethernet tunneling can be emulated using Ethernet SAPs to interconnect the related B-VPLS instances. This kind of solution might fit certain operational environments where Ethernet services was provided in the past using QinQ solution. The drawback is that no LDP signaling is available to provide support for Access Multi-homing for Epipe (pseudowire Active/Standby status) or I-VPLS services (LDP MAC Withdraw). An alternate solution is required.
A PBB network using Native Ethernet core is shown in Figure 84. MC-LAG is used to multi-home a number of edge switches running QinQ to PBB BEBs.

The interrupted line from the MC-LAG represents the standby, inactive link; the solid line is the active link. The BEBs are dual-homed to two core switches BCB1 and BCB2 using native Ethernet SAPs on the B-VPLS side. Multi-point B-VPLS with MSTP for loop avoidance can be used as the PBB core tunneling.
The following QoS processing rules apply for PBB B-VPLS SAPs:
B-VPLS SAP ingress
B-VPLS SAP egress
I-SAP Ingress
I-SAP Egress
Filter policies are supported for ingress and egress of PBB I-SAP in both PBB Epipe and PBB VPLS service.
Only MAC criteria Filter policies is available for use with PBB B-SAPs on ingress with the following functionality:
Only MAC criteria filter policies is available for use with PBB B-SAPs on egress. This filter policy only matches the BCB traffic. BEB traffic (that is, PBB originated traffic) cannot be matched using the egress filter policy attached to PBB B-SAP.
Listed as follows are the configuration guidelines for a PBB service:
The following configuration guidelines are specific to 7210 SAS-M and 7210 SAS-T platforms operating in the network mode.
When “discard-unknown” is enabled on a B-VPLS, the following behavior can be observed:
Use the CLI syntax displayed to configure PBB.
Use the following syntax to bring up PBB B-VPLS - common to both ELAN and ELINE services.
Use the following syntax to bring up PBB ELAN.
Use the following syntax to bring up PBB ELINE.
This section describes a configuration example for BEB C configuration with the following assumptions: