This chapter provides information about pseudowire ports (PW ports), process overview, and implementation notes.
A PW port is primarily used to provide PW termination with the following characteristics:
Mapping between PWs and PW ports is performed on one-to-one basis.
There are two modes in which PW port can operate:
When the PW port is created, the mapping between the PW port and PW will depend on the mode of operation and application.
PW port creation:
Similar to any other Ethernet-based port, the PW port supports two encapsulation types, dot1q and qinq. Ether-type on a PW port is not configurable and it is set to a fixed value of 0x8100 for dot1q and qinq encapsulation.
In this mode of operation, the PW port is bound to a specific physical port through an SDP binding context:
In this example, pw-port 1 is bound to a physical port 1/1/1.This PW port is mapped to the PW with vc-id 11 under the sdp 1 which must be terminated on port 1/1/1.A PW port is shaped by a virtual port scheduler (Vport) construct named vport-1 configured under port 1/1/1. SAPs created under such PW ports can be terminated in ESM, Layer 3 IES/VPRN interface or in an Epipe.
The FPE based PW-port is primarily used to extract a PW payload onto an access based PW-port SAP, independent of the network I/O ports. FPE uses Port Cross-Connect (PXC) ports and provides an anchoring point for PW-port, independent of I/O ports, the term anchored PW-port can be interchangeably used with the term FPE based PW-port.The following are examples of applications which rely on FPE based PW-port:
Although the primary role of FPE based PW-port is to terminate an external PW, in certain cases PW-port can be used to terminate traffic from regular SAP on I/O ports. This can be used to:
PW payload delivery from the I/O ports to the FPE based PW-port (and SAP) is facilitated via an internal cross-connect which is built on top of PXC sub-ports. Such cross-connect allows for mapping between PWs and PW-ports even in cases where PW payloads have overlapping VLANS. This concept is shown in Figure 199.

Parameters associated with the PXC sub-ports or PXC based LAGs (QoS, lag-profiles, etc.) are accessible/configurable via CLI. For example, the operator may apply an egress port-scheduler on sub-port pxc-1.b in Figure 199 in order to manage the sum of the bandwidth from associated PW-ports (PW-ports 1 and 2). To avoid confusion during configuration of PXC sub-ports /LAGs, a clear definition of reference points on the cross-connect created via FPE is required:
Since the creation of the cross-connect on FPE based PW-ports is highly automated through and FPE configurations, the SR OS system will:


xc-a and xc-b can be associated with any PXC based LAG ID. For example, the following path configuration is allowed: xc-a with lag-id 100 (which includes pxc sub-ports pxc-2.a and pxc-3.b) and xc-b with lag-id 101 (which includes pxc sub-ports pxc-3.a and pxc-2.b). Regardless of the pxc sub-ports that are assigned to respective LAGs, the xc-a side of the path is used as the transit side of the cross-connect, while the xc-b side of the path is used as the termination side of the cross-connect.
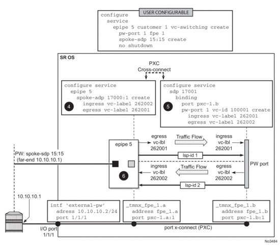
From a logical perspective, the internal cross-connect that maps the external PW to a PW-port is implemented as a switched Epipe service (vc-switching). This switched Epipe service switches an external PW to the internal PW that is terminated on a FPE based PW-port. In this fashion, the PW-port becomes independent of the I/O ports. Assuming that PXC and PW-port are already configured in the system, the following are the three main configuration steps required to terminate the payload carried over external PW on the PW-port SAP:
The status of the internally built constructs can be examines via various show commands (for example show service id <epipe-id> 1 sdp). The internal SDP id is allocated from the user space. To avoid conflict between the user provisioned SDP ids and the system provisioned SDP ids, a range of SDP ids that will be used for internal consumption must be reserved in advance. This is accomplished via the sdp-id-range commands under the config>fwd-path-ext hierarchy.
Configuration steps necessary to build PW-port based cross-connect over PXC are shown in the following diagrams (a single PXC is used in this example).
The fpe command instructs the SR OS system to build an LSP tunnel over the PXC. This tunnel is used to multiplex PW traffic to respective PW-ports. Each external PW is switched to an internal PW (on top of this tunnel) and its payload is off-loaded to a respective PW-port.
After the fpe is configured (refer to “Forwarding Path Extensions” in the Interface Configuration Guide), the SR OS system will automatically configure steps 1, 2 and 3 in Figure 202. The objects created in steps 1, 2 and 3 can be seen via show commands. However, they are not visible to the operator in the configure branch of CLI.
The significance of the pw-port command under the fpe is to inform the system about the kind of cross-connect that needs to be built over PXC – in this case this cross-connect is PW-port specific. Applications other than PW-port may require different functionality over PXCs and this will be reflected by a different command under the fpe CLI hierarchy (for example vxlan-termination command instead of pw-port).
Note: the IP addresses setup on internal interfaces on PXC sub-ports are Martian IP addresses and they are shown in CLI as fpe_<id>.a and fpe_<id>.b.

Mapping between the external PW and the FPE based PW-port is performed via an Epipe of type vc-switching. The user configurable Epipe (id 5 in this example) will aid in setting up steps 4, 5 and 6 in Figure 203:
At this stage, the external PW is mapped to the pw-port 1, as shown in Figure 203. The spoke-sdp 17000:1 and the binding under SDP 17001 (spoke-sdp 17001:100001) created in steps 4 and 5 (Figure 203) can be seen via show commands. However, they are not visible to the operator in the configure branch of CLI.

In the final step, PW-port SAP is applied to a service (Figure 204).

The FPE-based PW-port operational state is driven by the ability of the stitching service (see the following notes) to forward traffic. This includes the stitching service’s operational status and, if the external PW is TLDP signaled, the PW status bits. The operational flag for a non-operational PW-port is set to stitchingSvcTxDown.
Transitioning of the PW-port into down state due to a PXC failure (for example physical port fails), will bring the stitching service down with the following result:
| Note: The stitching service in this context is an Epipe service in vc-switching mode for BGP-VPWS or TLDP signaled PW, as follows: |
| Note: The stitching service in this context is an Epipe service in a non-vc-switching mode for EVPN, as follows: |
QoS fundamentals for the case where multiple PWs are multiplexed over a single cross-connect are shown in Figure 205.

Egress QoS may be applied on both sides of the cross-connect (PXC sub-ports .a and .b) to control congestion on the cross-connect itself. This can be accomplished via an Egress Port Scheduler (EPS) applied to each sub-port.
EPS applied to pxc-1.a (transit side) will manage congestion on the cross-connect for traffic coming from the external PWs. A single set of queues will be shared by all PWs utilizing this cross-connect in this direction.
EPS applied to the pxc-1.b (terminating side) will be used to manage congestion on the cross-connect for traffic going toward the PWs (leaving the SR OS node). A set of queues will be dedicated to each PW-port SAP.
QoS on PXC sub-ports is described in the “PXC” section of the 7450 ESS, 7750 SR, and 7950 XRS Interface Configuration Guide.
The internal cross-connect utilized by FPE based PW-port is relying on an MPLS tunnel built over internal network interfaces configured on PXCs. Those internal network interfaces are using a default network policy 1 for egress traffic classification, remarking and marking purposes. Since the PXC cross-connect is MPLS based, the EXP bits in newly added MPLS header will be marked according to the default network policy (for brevity reasons, only the relevant parts of the network policy are shown here).
As seen in this excerpt from the default network egress policy, the forwarding classes AF and L1 marks the EXP bits with the same values. This renders the forwarding classes AF and L1 set on one side of PXC, indistinguishable from each other on the other side of the PXC. This effectively reduces the number of forwarding classes from 8 to 7 in deployment scenarios where the QoS treatment of traffic depends on preservation of forwarding classes across PXC. In other words, in such scenarios, one of the forwarding classes AF or L1 should not be used.
An FPE-based PW-port is associated with an internal spoke-SDP as described in PXC-Based PW-Port — Building the Cross-Connect and FPE-Based PW-port Operational Stateh. Statistics for the number of forwarded/dropped packets/octets per direction on a PW-port are therefore maintained per this internal spoke-SDP. Octets field counts octets in customer frame (including customer’s Ethernet header with VLAN tags). The following command is used to display PW-port statistics along with the status of the internal spoke-SDP associated with the PW-Port:
Intra-chassis redundancy models rely on PXC-based LAG. PXC-based LAG can contain multiple PXCs on the same line card (port redundancy) or PXCs across different line cards (port- and card-level redundancy).FPE-based PW ports also provide network level-redundancy where MPLS/IP can be rerouted to different I/O ports (due to network failure) without interruption of service.
L2oGRE termination on an FPE-based PW port allows L2 customer traffic to be transported over an IP network to an SR OS node deeper in the network. In the SR OS node, the customer's payload delivered within L2oGRE tunnel is extracted onto a PW SAP (configured under an interface, group interface, or Epipe) and handed off to an L2 or L3 service. This allows the operator to quickly and simply expand their service offering to their customers over an existing IP network. New service offerings become independent of the existing IP network to which CEs are attached.
For secure operation, the transit IPv4 network should be trusted or alternatively, GRE traffic can be secured by IPSec (L2oGREoIPSec).
Figure 206 shows a typical example where a customer payload is tunneled in GRE through an IPv4 network for an L2 or L3 handoff in an SR OS node that is placed deeper in the network.

The L2oGRE packet format is as follows:
The supported GRE header in this context is defined in RFC 2784. The protocol type is set to 0x6558 (bridged Ethernet), and the Checksum and Reserved1 fields are normally omitted. The SR OS can accept headers with those two fields present, but the system omits them when encapsulating packets on transmission. Therefore, the transmitted GRE header length in the SR OS is 4 bytes.
A customer payload within L2oGRE can be extracted onto a PW SAP inside an SR OS node. This PW SAP can be configured under an interface, subscriber interface, or an Epipe. Once on a PW SAP, customer traffic can be passed further into the network to its destination using L2 or L3 services. End-to-end L2 and L3 scenarios are described in the following sections.
Figure 207 shows an example of plain L3 termination with MTUs.

In this example:
The following is an example where PW SAP is configured under a L3 interface with a PW carrying IP over Ethernet:
Figure 208 shows an example of L2 termination and hand-off.

In this example:
The following shows an example of PW SAP configured under an Epipe:
The primary case for ESM termination is business services. Figure 209 shows an example of ESM termination.

In this example:
The following shows an example where a PW SAP is configured under a subscriber interface:
The following shows an example with the capture of a PW SAP configured:
L2oGRE tunnels are emulated as an SDP of type gre-eth-bridged (shown as GRE-B in the output of relevant show commands). This SDP defines two end-points on the tunnel:
Binding an L2oGRE tunnel to an FPE-based PW port within the SR OS is performed through an Epipe service. Once the connection is established, the tunnel payload can be extracted to a PW SAP that can be used similarly to a regular SAP under L3 interfaces, subscriber interfaces, or an Epipe.
Table 85 describes the L2oGRE sample configuration steps.
Step | Sample CLI | Comments |
PXC-based PW Port related configuration | ||
PW Port creation | pw-port 1 encap-type dot1q dot1q-etype 0x8100 | L2oGRE tunnel will be terminated on this PW port. |
Port-XC creation | port-xc pxc 1 create port 1/1/1 | This command triggers automatic creation of PXC sub-ports: configure port pxc-1.a port pxc-1.b This is where the L2oGRE terminating PW port will be anchored. |
Creation of FPE that will be used for PW port anchoring | fwd-path-ext sdp-id-range from 17400 to 17500 fpe 1 create path pxc 1 pw-port | The application under this FPE will be the PW port termination. The use of PW port in this case is versatile and can be used to terminate an L2oGRE or MPLS/GRE-based PW. In this example, it will be used to terminate an L2oGRE tunnel. |
L2oGRE tunnel definition | ||
Configuration of GRE-bridged tunnel termination IPv4 addresses. | service>system>gre-eth-bridged tunnel-termination 10.1.1.2 fpe 1 | This is a special IPv4 address that is not configured under any L3 interface and it must not overlap with any IPv4 address configured under an L3 interface in Base router. Multiple termination IPv4 addresses are supported. |
Configuration of L2oGRE SDP | service> sdp 2 gre-eth-bridged create far-end 11.1.1.2 local-end 10.1.1.2 | This represents the L2oGRE tunnel within SR OS as defined by the tunnel end-point IPv4 addresses. |
Stitching L2oGRE tunnel to an anchored PW port | ||
Association between the PW port and a PXC port via FPE. | service>epipe 1 pw-port 1 fpe 1 | This commands anchors the PW port 1 to a PXC port referenced in FPE 1. |
Binding between L2oGRE tunnel and the PW port | service>epipe 1 pw-port 1 fpe 1 spoke-sdp 2:1 | L2oGRE will be terminated on a PW port and the L2 payload within the tunnel will be extracted on the PW SAP |
PW SAP service association | ||
Creation of services that use PW SAP | service>epipe 100 sap pw-1:100 create service>vprn 101>if sap pw-1:101 create | |
L2oGRE traffic is subjected to several MTU checks in the downstream direction (toward the remote end of the L2oGRE tunnel) within the SR OS node, as shown in Figure 209.

In this example:
MTU values:
Frames within an SR OS cannot be fragmented on a service or SDP level. However, L2oGRE traffic can be fragmented at the port level and at any downstream point, if the DF bit in the IP header is cleared. The DF bit setting is controlled by the config>service>sdp>allow-fragmentation command.
L2oGRE reassembly is supported through a generic reassembly function that requires an MS-ISA. As fragmented traffic enters an SR OS node, it is redirected to an MS-ISA via filters. Once the traffic is reassembled in the MS-ISA, it is re-inserted into the forwarding complex where normal processing continues (as if the non-fragmented traffic originally entered the node).
Table 86 describes the configuration steps to support reassembly for GRE.
Step | Sample CLI | Comments |
Creation of a NAT-group that contains MS-ISAs | configure isa nat-group 1 mda 1/1 mda 2/1 | The reassembly function is performed in a NAT group that contains one or more MS-ISAs. |
Referencing a reassembly group that will be used for traffic in the Base routing context | configure router reassembly-group 1 | Identification of the reassembly group that will be used for traffic in the Base routing context. Upon reassembly, traffic will be re-inserted in the same (Base) routing context. Reassembly group ID corresponds to the NAT group ID (in this case 1). There can be multiple NAT groups (reassembly groups) configured in the system and this command identifies the reassembly group that will be used in the Base routing context. |
Identifying and directing fragmented traffic to the reassembly function. | configure filter ip-filter <id> default-action forward entry <id> create match protocol gre fragment true exit action reassemble exit | Fragmented GRE traffic is identified via a filter and redirected to the reassembly function. This filter must be applied to all ingress interfaces on which GRE traffic is expected to arrive. |